我公司具有代表性的胶辊包胶用橡胶材质种类和特性如下表。
◎…优 ○…良 △…可 ×…不可
| 项 目 | 丁腈橡胶1 | 丁腈橡胶2 | 氯丁橡胶 | 乙丙橡胶 | 硅胶 | 丁基橡胶 | 丁苯橡胶 | 聚氨酯1 | 聚氨酯2 | 海帕轮 | 氟橡胶 |
|---|---|---|---|---|---|---|---|---|---|---|---|
| 简码 | NBR | NBR | CR | EPT | Q | IIR | SBR | U | U | CSM | FKM |
| 我公司称呼名 | 200, 800 6000, W SW, ニューTX |
FR, M 1400, L 白EC200 |
300 | 700 | 900 | 7000 | 1300 | 2000 4000 |
MC, MC-U MCK |
3300 | FV |
| 化学名 | 丙烯腈 丁二烯共聚物 | 丙烯腈 丁二烯共聚物 | 氯丁橡胶 | 三元乙丙橡胶 | 聚硅氧烷漆 | 丁基共聚物 | 苯乙烯/丁二烯共聚物 | 聚氨酯 | 聚氨酯 | 氯磺化聚乙烯 | 氢氟碳化合物 |
| 硬度范围 (邵氏A) |
10 ~ 95 | 30~90 | 40~80 | 40~80 | 30~80 | 20~70 | 70~95 | 10~95 | 15~80 | 50~80 | 60~90 |
| 抗张强度 (Mpa) |
4 ~ 22 | 4~25 | 7~18 | 11~24 | 4~8 | 8~11 | 4~20 | 2~44 | 2~15 | 15~19 | 10~15 |
| 撕裂强度 (N/mm) |
10 ~ 60 | 10~50 | 10~40 | 10~50 | (5~15) | 15~30 | 17~60 | 10~190 | 10~30 | 40~75 | 20~35 |
| 耐磨损性 | ◎ | ◎ | ○ | ○ | △ | ○ | ◎ | ◎ | ○~◎ | ◎ | ◎ |
| 压缩永久变形 | ◎ | ◎ | ◎ | ○ | ◎ | ○ | ○ | ◎ | ◎ | ○ | ○ |
| 耐老化性 | ○ | ◎ | ◎ | ◎ | ◎ | ◎ | ○ | △~○ | △~○ | ◎ | ◎ |
| 耐臭氧性 | ×~△ | ○ | ○ | ◎ | ◎ | ◎ | × | ◎ | ◎ | ◎ | ◎ |
| 耐热性 (最高使用温度) |
120 | 100 | 130 | 150 | 220 | 150 | 120 | 80 | 80 | 160 | 250 |
| 耐寒性 (脆化温度) |
- 10 ~ - 20 | −10~−20 | −35~−55 | −40~−60 | −50~−100 | −30~−55 | −30~−60 | −30~−60 | 0 | −20~−60 | −10~−50 |
| 耐火性 | ×~△ | △ | ○ | × | ×~○ | × | × | ×~△ | ×~△ | ○ | ◎ |
| 体积电阻率25℃ (Ω・cm) |
109~1012 | 109~1012 | 1010~1012 | 1012~1015 | 1011~1015 | 1014~1016 | 1010~1015 | 109~1012 | 109~1011 | 1013 | 1013~1015 |
| 电容率 (60HZ) |
10~15 | 10~15 | 7.5 | 3.1~3.4 | 3.2~10 | 2.1 | 2.9~3.0 | 4.2~5.5 | 4.2~5.5 | 5.5~7.5 | 2.0~2.5 |
| 强酸 | ○ | ○ | ○ | ◎ | △ | ◎ | ○ | × | × | ○~◎ | ◎ |
| 弱酸 | ○ | ○ | ◎ | ◎ | ○ | ◎ | ○ | △ | × | ○~◎ | ◎ |
| 强碱 | ◎ | ◎ | ◎ | ◎ | ◎ | ◎ | ◎ | × | × | ○~◎ | ◎ |
| 弱碱 | ○ | ○ | ○ | ◎ | ○ | ◎ | ○ | × | × | ○~◎ | ◎ |
| 耐水性 | ◎ | ◎ | ○~◎ | ◎ | ◎ | ◎ | ◎ | × | × | ○ | ◎ |
| 脂肪族系溶剂 | ◎ | ◎ | ○ | × | ×~△ | × | × | ◎ | ◎ | △ | ◎ |
| 芳香族系溶剂 | △ | △ | × | △ | ×~△ | △ | × | △~◎ | ◎ | ×~△ | ◎ |
| 酒精系溶剂 | ○ | ○ | ◎ | ◎ | ◎ | ◎ | ◎ | △~○ | ○ | ◎ | ◎ |
| 酮系溶剂 | × | × | △~○ | ◎ | ○ | ◎ | ○ | × | × | △ | × |
| 酯系溶剂 | × | × | △~○ | ◎ | ○ | ◎ | △~○ | × | × | △ | × |
| 含氯系溶剂 | × | × | × | × | × | ×~△ | × | × | × | × | ◎ |
在各种条件下使用的胶辊,不仅是橡胶材质,辊芯的好否也是最重要的。
即,如果不使用充分承受使用条件的材料和结构,会成为发生重大问题的原因。
材料一般是使用钢管,在特殊用途上也会使用不锈钢,铝,塑料等。
特别是最近,为了实现轻重量,CFRP被瞩目。(关于CFRP芯,请参考“高功能CFRP滚轮”)辊芯结构是根据使用条件而变化,所以关于辊芯的结构请咨询我公司销售业务员。
以下是具有代表性的结构。
辊芯通常是用金属材料(特别是钢铁材料)。
特别是选择合适的材料是滚轮性能上重要的元素之一。
以下举例构成辊芯的轴,法兰,辊芯体的具有代表性的材质。
| 轴 | 法兰 | 辊芯体 |
|---|---|---|
| ●炭素工具钢 ●不锈钢 ●铬钼铸钢 ●合金工具钢 ●铝 |
●通用轧制钢 ●不锈钢 |
●铝 ●不锈钢 ●配管用碳钢管(SGP) ●炭素工具钢(STKM13A)(STPG、SGP 等) ●CFRP 管 |
随着最新机械的高速化,增多由滚轮平衡不合适而发生的各种事故(如振动,噪音,轴和轴承的早期磨损,齿轮的早期磨损,胶辊的早期损伤,机械的早期故障等等)。
这些现象是随着滚轮回转的上升,由于不平衡而发生的离心力的急速增加而引起的。
修正该不平衡的基本方法有几种,我公司是用以下2种方法进行修正。
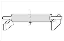
静平衡是构成滚轮的材料的负荷分配不均匀而发生的现象。
如下图用尖角支撑胶辊两端时,重的一方会往下转。修正方法是,在轻的一方加重或者重的一方减重来修正。
动平衡是滚轮回转时发生的。其不平衡量表现成让滚轮往相同方向摆动的离心力。
动平衡和修正方法是,把滚轮表面分360等分,在不平衡的位置上进行重量调整。
| (1) | 辊芯体表面的接着按以下方法进行。 |
| 1.用硬质橡胶接着:…12~14 角/25mm 深度0.5mm 螺纹加工 | |
| 2.用接着剂的时候:鹅颈刀完工表面 |
| (2) | 直径超过200mm的滚轮,在法兰的两端开直径5mm以上的对称的孔。为提高硫化效率而必须的。 |
| (3) | 滚轮的平衡是非常重要的,在我公司制作辊芯的时候,根据使用用途根据情况做静平衡,但关于动平衡没有客户指定,一般是不做动平衡。在高速运转环境中使用的滚轮,如果需要平衡,请向业务员申请如下几点。 |
●滚轮的回转数 ●所希望的平衡量(g)
| 通常 | G6.3(平衡等级) | 一般薄膜纸张用滚轮 | (400m/min 为止) | |
| G2.5(平衡等级) | 高速运转滚轮 | (400~1500m/min) |
胶辊基础知识
株式会社加贯胶辊制作所
〒544-0005
大阪市生野区中川5-3-13
TEL +81-06-6751-1121
FAX +81-06-6754-4400